物联网安全
网安在线AI网络平台
数据中心交换机
园区交换机
工业交换机
企业无线
企业路由器
xPON光网络
安全产品
配件
安防物联网安全态势感知防护系统
安防物联网资产分析智能运维系统
网安在线AI智能网络解决方案
极简智能网络解决方案
城市级公共大屏内容安全解决方案
政府组织
园区场馆
高职院校
公检司法
金融行业
商业地产
医疗行业
普教系统
酒店商超
企业单位
住宅小区
品质TG
售后政策
服务流程
产品公告
下载中心
产品FAQ
公司介绍
开展历程
核心优势
资质荣誉
产品证书
联系网安在线
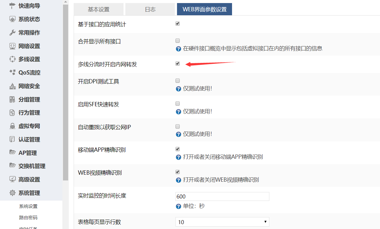
网吧的路由器开启应用分流后客户机开机就出现“客户端实名模块初始化失败”,用户登录不进去问题怎么解决?
【答】
由于内网使用了多个网段的ip,需要在路由器的系统设置里面的WEB页面参数设置把“多线分流时开启内网转发”勾上,再点一下“保存&应用”。
电话:0755-29361081
地址:深圳市龙华区大浪街道丽荣路1号国乐科技园6栋13楼
版权所有 © 2010 - 2024 深圳市网安在线科技有限公司 保留一切权利 网站地图 粤ICP备11066201号
业务咨询 :
技术支持热线 :
邮件询价 :